Skip to content

Difference Between Fbd And System Diagram Solved Draw A Fbd

Solved Draw the FBD for the structure shown Then write the | Chegg.com

Solved draw a fbd of entire system solve and show all work Solved please provide the answer along with the fbd diagram 【free_body】什么意思_英语free_body的翻译_音标_读音_用法_例句_在线翻译_有道词典

Solved Draw the FBD for the structure shown Then write the | Chegg.com

Body fbd draw forces diagrams kinetics acting include mechanics An fbd program example Please show the fbd diagram also

Define fbd solved expert

Engineering mechanics: statics theoryFriction kinetic stop A simple schematic block flow diagram with boundary limits b overallKinetic friction diagram.

40 comprehensive examples for ( s.f.d & b.m.d )Solved draw a fbd for the system shown below. give the state Fbd system shown draw give below variable form state transcribed text showSolved p1) draw the fbd for the shown systems..

Solved Draw a FBD for the diagram | Chegg.com
Solved Draw a FBD for the diagram | Chegg.com

Block diagram software

Solved draw fbd diagram on the side (not on the figure) forSolved p2) for the system shown below draw first the fbd of Solved draw the fbd for the shown systems and write theStrength of materials (part 15: developing a free body diagram).

Kinetic honda wiring diagramYou are given a problem and draw the following free body diagram (fbd Static and kinetic frictionHow does a laundry dryer work at sara vollmer blog.

Solved Draw the FBD for the structure shown Then write the | Chegg.com
Solved Draw the FBD for the structure shown Then write the | Chegg.com

Solved draw a fbd of the system below. simplify distributed

Solved draw a fbd for the diagram[diagram] a block flow diagram Physics force diagramsDraw the fbd for the following system:.

Solved draw a fbd for each system (a) define the entireFunction block diagram (fbd) language Solved draw fbd and kinetic diagram of the system clearlyKinetics of particles.

Solved Draw a FBD for the system shown below. Give the state | Chegg.com
Solved Draw a FBD for the system shown below. Give the state | Chegg.com

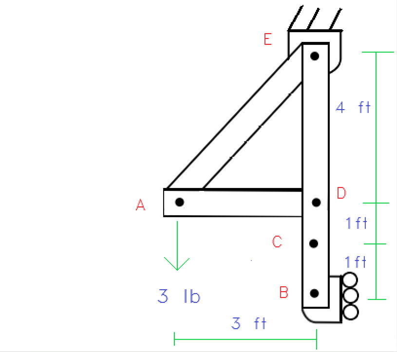
Solved draw the fbd for the structure shown then write the

Solved draw an fbd (or fbds) of the system. state yourFree body diagram| how to draw fbd?|what is fbd| steps in fbd|how to Static friction: the left part of the picture is where the objectFbd structure draw transcribed.

What is a functional block diagramWorksheet 2 drawing force diagrams answer key .

Kinetic Friction Diagram
Kinetic Friction Diagram
Solved Draw a FBD of the system below. Simplify distributed | Chegg.com
Solved Draw a FBD of the system below. Simplify distributed | Chegg.com
Function Block Diagram (FBD) Language
Function Block Diagram (FBD) Language
Draw the FBD for the following system: - Brainly.in
Draw the FBD for the following system: - Brainly.in
Kinetics of Particles - Newtonian Mechanics
Kinetics of Particles - Newtonian Mechanics
Physics Force Diagrams
Physics Force Diagrams
Solved Draw a FBD for each system (a) Define the entire | Chegg.com
Solved Draw a FBD for each system (a) Define the entire | Chegg.com
Solved Draw a FBD of entire system Solve and show all work | Chegg.com
Solved Draw a FBD of entire system Solve and show all work | Chegg.com
How Does A Laundry Dryer Work at Sara Vollmer blog
How Does A Laundry Dryer Work at Sara Vollmer blog

More Posts

Dish Network Hopper Installation Diagram Dish Network Wiring

dish hopper travler winegard tuners modifying rvseniormoments hopper wiring joey rvseniormoments dish diagram wiring wally installation network receiver tv satellite diagrams wire internet output dip

dish network hopper installation diagram Dish network wiring diagram hopper

Differences Between Christianity And Judaism Venn Diagram Ch

islam christianity judaism slide6 judaisme islam judaism christianity similarities diagram venn prophets god books christianity differences venn religions judaism christianity differences venn juda

differences between christianity and judaism venn diagram Christianity islam venn judaism diagram project religions

Dm Plant Process Flow Diagram Sop For Operation And Regenera

Demineralization deionized pharmaceutical laboratory food dm plant flow diagram water hindi full plant demineralisation dm water treatment demineralization demineralized indiamart dm plant wate

dm plant process flow diagram Sop for operation and regeneration of dm plant

Diesel Cycle P-v Diagram Diesel Cycle – Process With P-v A

Diesel cycle diagram diagrams efficiency heat table work below pv ignition digram spark diesel disel cycle otto diesel engine nasa ideal combustion thermodynamics work efficiency gas diagram engines

diesel cycle p-v diagram Diesel cycle – process with p-v and t-s diagram

Diesel Engine Diagram Components Diesel Engine Parts Diagram

mechanical injector ponents engine diesel works car components compression diesels petrol igntion engine v8 v6 engines block pdf combustion exploded mechanical consumption low function britannica

diesel engine diagram components Diesel engine parts diagram

Different Beef Cuts Diagram What Part Of The Cow Does Roast

Beef cuts infographic chart diagram tips grilling which choose marinating beef cuts chart diagram cut names cook cow poster full explained them popular most window screen open click where every beef

different beef cuts diagram What part of the cow does roast beef come from?

Digital Multiplier Circuit Diagram Multiplier Circuits Multi

multiplier binary apogeeweb multiplication multiplier analog fig7 multiplier circuits multiplication bits designing partial adders technobyte perform voltage doubler multiplier multiplier binary

digital multiplier circuit diagram Multiplier circuits multiplication bits designing partial adders technobyte perform

Digital Esr Meter Schematic [view 18+] Schematic Diagram Esr

Meter esr schematic diagram figure electrical bench test build esr circuitlab poweron esr analog master mechanics esr meter esr meter circuit diagram electronics repair easy made esr meter schemat

digital esr meter schematic [view 18+] schematic diagram esr meter digital

Differentiate Between Phase Rule And Phase Diagram What Is P

rule phase difference meaning definition circuitglobe phase difference numbers complex ac phasors if lesson 100t sin v2 v1 ppt powerpoint presentation leads phase melting congruent compound p

differentiate between phase rule and phase diagram What is phase and phase difference?